| Sign In | Join Free | My burrillandco.com |
|
| Ask Lasest Price | |
| Brand Name : | Shaanxi Chengda |
| Model Number : | Liquid level measuring device |
| Certification : | ISO9001 |
| Price : | Price and specific model specifications can be agreed upon. |
| Payment Terms : | D/P, T/T, Western Union, MoneyGram |
| Supply Ability : | 3set per month |
| Delivery Time : | 8-15work days |
Electric arc furnace fittings liquid level measuring device
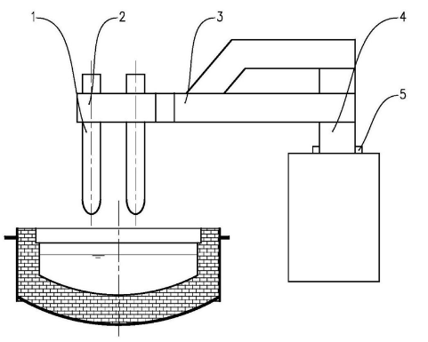
The method of detecting the liquid level of molten steel in electric arc furnace with electrode is used to solve one of the problems such as complicated detection method, high detection cost and the inability to realize continuous detection of liquid level.
The method uses image (camera) recognition technology and displacement sensor to measure the distance from electrode descent to electrode arc, and the arc length empirical formula to measure the liquid level of molten steel in EAF. The method can continuously detect the liquid level of electric arc furnace steel in real time, and each detection will calibrate the electrode end position, which will reduce the detection error, and then the damage of the electrode in a single use can be corrected by the relationship between the electrode consumption and the use time, further reduce the error, and can realize the continuous detection of the liquid level.
A method for detecting the liquid level of electric arc furnace
steel by using an electrode is characterized in that it comprises
the following steps:
(1) Select the level reference zero and calibration line, and mark
the distance between the level reference zero and calibration line
as L;
(2) When the measuring electrode falls from the calibration line to
the arc of the electrode, the distance S between the electrode and
the calibration line;
(3) The arc length of the arc furnace is denoted as H, and the
distance between the current liquid steel level and the zero point
of the liquid level is denoted as D, then D = S+H-L.
The invention relates to a method for detecting the liquid level of molten steel in an electric arc furnace by using an electrode:


|
| Company Info. |
| Shaanxi CHENGDA Industry Furnace MAKE Co., Ltd. |
| Verified Supplier |
| View Contact Details |
| Product List |