| Sign In | Join Free | My burrillandco.com |
|
...PISTON Caterpillar parts M325B, PF-300C, PS-300, PS-300B, PS-500, SM-350 PISTON Product Description CA1G8451 1G-8451 1G8451 PNEUMATIC COMPACTOR PF-300C PS-300 PS-300B PS-500 STABILIZER MIXER SM-350 WHEELED E...
...PISTON Caterpillar parts 950B, 950B/950E, 950F, 950F II, 960F PISTON Product Description Alternative (cross code) number: CA6E2192 6E-2192 6E2192 WHEEL LOADER 950B 950B/950E 950F 950F II 960F Caterpillar 950...
6T0235 PISTON Caterpillar parts D8L, D9L PISTON Product Description CA6T0235 6T-0235 6T0235 TRACK-TYPE TRACTOR D8L D9L Caterpillar D8L TRACTOR 53Y00001-UP (MACHINE) POWERED BY 3408 ENGINE 6T-2819: CLUTCH & BRAK...
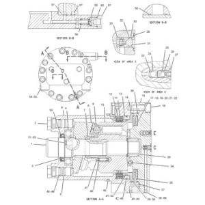
... 103-6291 CLUTCH & BRAKE GP-STEERING S/N HWH1-UP PART OF 363-3704 POWER TRAIN AR Information 1. 9U-9485 [1] PISTON 2. 123-3540 [1] HOUSING-BRAKE 3. 123-3539 [1] HUB 4. 7T-3097 [1]...
7S4494 PISTON Caterpillar parts 950, 966C PISTON Product Description CA7S4494 7S-4494 7S4494 WHEEL LOADER 950 966C Caterpillar 950 WHEEL LOADER 43J06268-UP (MACHINE) POWERED BY 3304 ENGINE 1P-5263: PLANETARY GP...
... Industrial Engine 6DC00001-UP 8N-2051: AIR COMPRESSOR GP » SEBP14430006 AIR COMPRESSOR GP 8N-2051 AIR COMPRESSOR GP S/N ......
...PISTON Caterpillar parts 517, 527, 572R, 572R II, D5HTSK II, D6H, D6H II, D6H XL, D6H XR, D6R, D6R II, D6R III, D6R STD, D6T, D6T LGP, D6T LGPPAT, D6T XL, D7R, D7R II, D7R XR Product Description CA3W0640 3W-...
...PISTON Caterpillar parts D379B, D398, D398B, D399, D9H, G398, G399 PIN Product Description CA7N9810 7N-9810 7N9810 GAS ENGINE G398 G399 GEN SET ENGINE D379B D398B D399 INDUSTRIAL ENGINE D398 TRACK-TYPE TRACT...
Doosan DE12TIS Piston 65.02501-0601B D2366 Piston Excavator Engine parts Item Name Piston Part No. 65.02501-0601B Engine No. DE12TIS QTY No MOQ request. Better price for bigger quantity Size Standard size Shipp...
Doosan DE12TIS Piston 65.02501-0601B D2366 Piston Excavator Engine parts Item Name Piston Part No. 65.02501-0601B Engine No. DE12TIS QTY No MOQ request. Better price for bigger quantity Size Standard size Shipp...
...QQ: 308762265 2. Quick Details: Isuzu Part No: 8-97176892-0 Package : ISUZU Original package Part Name: Piston Model: EA-14 Engine Model 3KR1 3. Engine parts : ISUZU engine parts for construction machinery s...
HHO Carbon Cleaning Machine Engine Carbon Removal Products Fuel Saver HHO characteristics: 1. Using pure water and electrolytes to produce Hydrogen and Oxygen. 2. The gas enter the engine system through pipelin...
3G2848 PUMP GP-PISTON Caterpillar parts 992C, 992D, 994 Product Description CA3G2848 3G-2848 3G2848 WHEEL LOADER 992C 992D 994 Caterpillar 992C Wheel Loader 49Z00001-UP (MACHINE) POWERED BY 3412 Engine 3V-6469:...
...PISTON Caterpillar parts 824G, 825G, 826G, 834B, 834G, 834H, 834K, 836, 836G, 836H, 836K, 980G, 986H, 988F II, 988G, 988H, 988K Product Description CA1079172 107-9172 1079172 LANDFILL COMPACTOR 826G 836 836G...
... BY 3306 Engine 3G-5497: CYLINDER GP-TILT » SEBP19290323 CYLINDER GP-TILT 3G-5497 CYLINDER GP-TILT S/N 3XJ1-......
... Engine 3G-5497: CYLINDER GP-TILT » SEBP19290323 CYLINDER GP-TILT 3G-5497 CYLINDER GP-TILT S/N 3XJ1-......
... PISTON Caterpillar parts 928F, 928G, IT18F, IT28F, IT28G Product Description CA8R2193 8R-2193 8R2193 INTEGRATED TOOLCARRIER IT18F IT28F IT28G WHEEL LOADER 928F 928G Caterpillar IT28F Integrated Toolcarrier ...
...PISTON Caterpillar parts 824G, 824G II, 824H, 824K, 825G II, 825H, 826G II, 826H, 980G, 980G II, 980H, 980K, 980K HLG Product Description CA2131152 213-1152 2131152 LANDFILL COMPACTOR 826G II 826H SOIL COMPA...
9T8346 PUMP GP-PISTON Caterpillar parts D8N, D8R, D8R Product Description CA9T8346 9T-8346 9T8346 TRACK-TYPE TRACTOR D8N D8R D8R II Caterpillar D8R Custom Parts Manual Track-Type Tractor 7XM00001-UP (MACHINE) P...
... 972H 972M XE 980C 980G II Caterpillar 966M XE Wheel Loader DZL00001-UP (MACHINE) POWERED BY C9.3 Engine 465-7309: FAN GP-SUCTION »...